排污泵系列型號意義
Q:潛水W:排污G:管道Y:液下N:泥漿Z:自吸L:立式AS:撕裂JY:攪勻P:不銹鋼B:防爆QW(WQ)無堵塞潛水式排污泵
例:80WQ(QW)P40-15-4

>>>>
JYWQ、JPWQ自動攪勻排污泵
例:80JY(P)WQ50-10-1600-3

>>>>
GW無堵塞管道式排污泵
例:100GWP(B)100-15-7.5

>>>>
LW(WL)無堵塞直立式排污泵
例:100LW(WL)PB100-15-7.5

>>>>
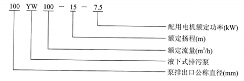
YW無堵塞液下式排污泵
例:100GWP(B)100-15-7.5

>>>>
ZW無堵塞自吸式排污泵
例:100ZW15-30PB

>>>>
AS切割式潛水排污泵
例:AS10-2WCB

>>>>
NL型立式污水泥漿泵
例:NL76A-9

>>>>
WQK/QG系列帶切割裝置排污泵
例:WQK20-20QG

更多污水泵排污泵知識關(guān)注上海浙甌泵閥制造有限公司



© 2023 上海浙甌泵閥制造有限公司 版權(quán)所有